캐드, 제품모델링, 기계, 금형 이야기

국가 기술 자격 CAD 실기 시험/KS규격 18

패킹(Packings)과 개스킷(Gaskets)

패킹(packing)과 개스킷(gasket)이라는 용어를 혼용하여 사용하는 경우가 많지만, 이들은 모두 넓은 의미에서 실링(sealing) 요소에 해당하며, 사용되는 위치에 따라 기능적으로 구분됩니다.패킹은 회전축이나 피스톤 로드처럼 움직임이 있는 부위, 즉 운동 부위의 밀봉에 주로 사용되고, 개스킷은 플랜지나 커버처럼 고정된 면 사이를 밀봉하는 데 사용됩니다.따라서 설계나 부품을 선택할 때에는 단순한 명칭보다는, 밀봉 대상이 움직이는지 여부와 장착 환경을 함께 고려해 구체적으로 구분하는 것이 중요합니다.밀봉 장치 용어 정의 표Sealing Devices and Packing Terminology (KS Standard)용어용어의 뜻대응 영어 (참고)밀봉 장치유체의 누설 또는 외부로부터의 이물질의 침입을..

나사의 틈새(Thread Undercut) 정리

나사의 틈새(Thread Undercut) 나사의 틈새란, 나사산이 끝나는 지점에 불완전한 나사 형상을 정리하기 위해 형성하는 가공 홈입니다. 조립성 향상, 응력 완화, 가공성 개선을 위해 매우 중요한 요소입니다.1. 나사의 틈새란?나사의 틈새(Thread Undercut)는 나사 끝단에 만든 짧은 홈으로, 불완전한 나사산을 제거하고 부드러운 체결과 응력 분산을 유도하는 기능을 합니다. 2. 왜 필요한가? 가공성 향상절삭 공구의 탈출 공간을 확보하여 가공 불량 방지조립성 향상상대 나사가 끝까지 부드럽게 체결됨응력 완화끝단 단차로 생기는 응력 집중을 완화품질 향상외관과 기능적인 완성도를 높여 품질 향상 3. 틈새의 기본 설계 기준 틈새 직경 (d₁)나사 외경보다 0.5~1.5mm 작게틈새 길이 (l₁)피치..

센터구멍(Center Hole)이란 무엇인가?

센터구멍이란? 기능과 필요성, 가공의 기준 작업형 CAD 실기 시험을 준비하면서 처음 접하는 것 중에 하나가 센터구멍(center hole)입니다. 오늘은 센터구멍이 무엇인지, 왜 필요한지, 그리고 실제 가공에서는 어떤 기준으로 작업하는지까지 자세히 정리해 드리겠습니다.센터구멍(Center Hole)이란 무엇인가?센터구멍은 공작물의 양 끝에 만들어진 작은 원형 구멍입니다. 주로 선반가공이나 연삭가공 시, 심압대 센터와 맞물려 공작물을 안정적으로 지지하는 역할을 합니다.길고 가느다란 부품일수록 회전 시 중심이 흔들리기 쉬운데, 센터구멍을 통해 중심을 정확히 잡아주어 고정밀 가공을 가능하게 만듭니다.실제 작업을 해보면, 센터구멍이 제대로 뚫려있지 않은 부품은 고속 회전 시 진동이 발생하거나, 가공 중 휘어지..

널링(Knurling) - KS B 0901

널링(Knurling)이란? 널링이란 부품 표면에 미끄럼을 방지하기 위해 눌러서 무늬를 형성하는 가공 방법입니다.널링은 기계 부품뿐만 아니라 일상생활에서도 널리 사용됩니다. 예를 들어, 병뚜껑, 볼펜의 그립 부분, 손잡이 등에 적용되어 미끄럼 방지와 조작 편의성을 높여줍니다.1. 널링 기계 가공 방법공작물을 선반의 척(Chuck)에 고정합니다.공구대(tool post)에 널링 공구(knurling tool)를 장착합니다.공작물을 회전시키면서 널링 공구로 압력을 가해 표면에 무늬를 성형합니다.절삭이 아니라 가압에 의한 성형(압인) 작업입니다.2. 널링 무늬 종류빗줄형(30도 경사각) : 30도 방향으로 교차된 빗금 무늬 (가장 널리 사용)바른줄형 : 축 방향 또는 원주 방향의 평행한 직선 무늬3. 널링 공..

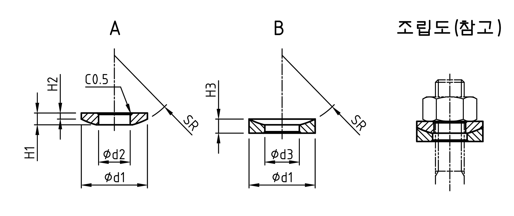
치공구용 와셔 - (1) 구면 와셔

구면 와셔 호칭 d 1 d 2 d 3 H1 H2 H3 SR 조임 볼트의 호칭 참고 (H4) 6 13 6.6 7.2 2.3 1.4 2.8 15 M6 4.2 8 17 9 9.6 3.1 1.9 3.7 20 M8 5.6 10 23 11 12 4.1 2.1 4.9 25 M10 7 12 25 14 15 4.5 2.8 5.6 30 M12 8.4 14 29 16 17 5.3 3.3 6.5 35 M14 9.8 16 32 18 20 6 3.9 7.3 40 M16 11.2 18 36 20 22 6.8 4.4 8.0 45 M18 12.6 20 40 22 24 7.6 4.9 9.1 50 M20 14 22 43 24 27 8.4 5.5 9.9 55 M22 15.4 24 48 26 29 9.3 5.9 10.9 60 M24 16.8..

와셔 (Washer)의 사용 목적

볼트(Bolt), 너트(Nut)와 함께 사용하는 와셔의 사용 목적과 종류에 대해 알아보겠습니다. 평 와셔 스프링 와셔 와셔(Washer)의 사용 목적 (1) 볼트와 너트의 앉음 자리가 평탄하지 않은 경우. (2) 볼트 구멍이 커서 조임이 충분하지 않은 경우. (3) 볼트와 너트의 앉음 자리가 높은 조임 압력에 견디기 어려운 경우. (4) 볼트나 너트의 풀림 방지 목적. 와셔(Washer)의 재료 주로 연강을 사용하며, 용도에 따라 황동도 사용된다. 와셔(Washer)의 모양에 따른 종류 (1) 1종 평와셔 (2) 2종 평와셔 (3) 4각 와셔 (4) 턱 붙임 와셔 (5) 스프링 와셔 (6) 치형 와셔(A형) (7) 치형 와셔 (B형) (8) 치형 와셔 (AB형) (9) 치형 와셔 (C형) (10) 테이퍼..

핀(pin) 구멍의 끼워 맞춤 공차 정리

모양상 평행핀은 기능적으로 3가지로 나눌 수 있다.① 고정용 ② 위치결정용 ( 또는 회전방지용 ) ③ 힌지용 고정용과 위치결정용의 끼워 맞춤공차는 같다.① 고정용② 위치결정용 ( 또는 회전방지용 )③ 힌지용 끼워 맞춤공차 (Fit Tolerance) 연습하기끼워 맞춤공차 적용 순서도 (Interactive)기계제도 실무 및 자격시험을 준비하는 분들을 위해, 끼워 맞춤공차를 어떻게 적용해야 하는지에 대한 판단 과정을 예 / 아니오 버튼 방식으로 시각화한 순153lab.com

오일실(Oil seal)의 KS규격 적용 방법

오일실(Oil seal)의 KS규격 적용 방법 내부의 그리스의 유출 방지와 외부의 이물질 침투 방지를 하는 오일실은 작업형 CAD실기 시험 (일반기계기사, 기계설계산업기사, 전산응용기계제도기능사)에 자주 등장하는 부품입니다.이번 시간에는 오일실에 관련된 축과 구멍의 치수와 공차를 빠르게 정리하도록 하겠습니다.  오일실의 변수d : 오일실의 안 지름 (호칭 지름)D : 오일실의 바깥지름B : 폭 오일실은 자로 측정해서 규격과 비교 > 치수 확정을 해야 한다.자로 쟤고 찾는 순서는 d > D > B 순서로 하고,  자로 쟨 값과 규격을 비교 확인한다. 여기에서는 d: 17, D:32, B:8이라 하겠다.  모델링과 도면작업에서 축과 구멍을 작업할 때 오일실 규격을 참고한다.   이것을 정리하면 다음과 같다...

반달키와 평행키의 KS규격 적용 모델링과 도면 작업

반달키와 평행키의 KS규격 적용 모델링과 도면 작업 반달키는 2022년 KS기계제도규격 기준으로 2페이지입니다. 이번 시간에는 반달키와 평행키의 KS규격을 적용하여 모델링하고 도면 작업을 해보도록 하겠습니다. ( 1 ) 감속기-2의 ⑤ 축 모델링 ① 인벤터의 스케치 환경에서 축의 기본 모양을 작도하고 치수 기입한다. ② 평행키홈과 반달키홈을 만들기 위해 각각 직사각형과 원을 이용해 도면을 보고 대략의 위치에 다음과 같이 그린다. ③ 각각 평행키홈와 반달키홈의 위치를 도면에서 자로 측정하여 치수 기입한다. ④ 평행키홈의 길이를 도면에서 자로 측정하여 치수 기입한다. ⑤ 평행키와 반달키의 규격 찾기 위 그림과 같이 키를 먼저 축에 고정하고, 구멍과 조립한다. 조립 순서 : 키 + ① 축 > ② 구멍 따라서 ..

O링의 KS규격 적용 방법과 도면 작업

에어클램프(Air clamp)는 간이 자동화 및 자동화 기계장치 등에서 가공물의 위치변동, 운반 등의 기능을 수행하는 장치입니다. 에어클램프-2에 있는 8, 9, 10번 부품이 O링입니다. O링은 조립도에서 눌려져 있는 상태로 조립되므로 단면이 타원으로 작도됩니다. ⑤가 피스톤인데, O링의 규격을 찾고 도면작업을 위해 ⑤ 피스톤을 작업해 보도록 하겠습니다. ( 1 ) 피스톤 모델링 ① 인벤터(Inventor) - 스케치(Sketch)에서 다음과 같이 피스톤의 아우트라인을 작도한다. ② O링홈을 제외한 형상을 추가적으로 그려준다. ③ 이제 O링 규격을 찾아보자 ④ O링의 호칭 지름은 O링의 안지름이다. O링의 안 지름에 대한 치수를 자로 측정한다. 가 : ∅24 나 : ∅9 ⑤ KS기계제도 규격에서 O링을..