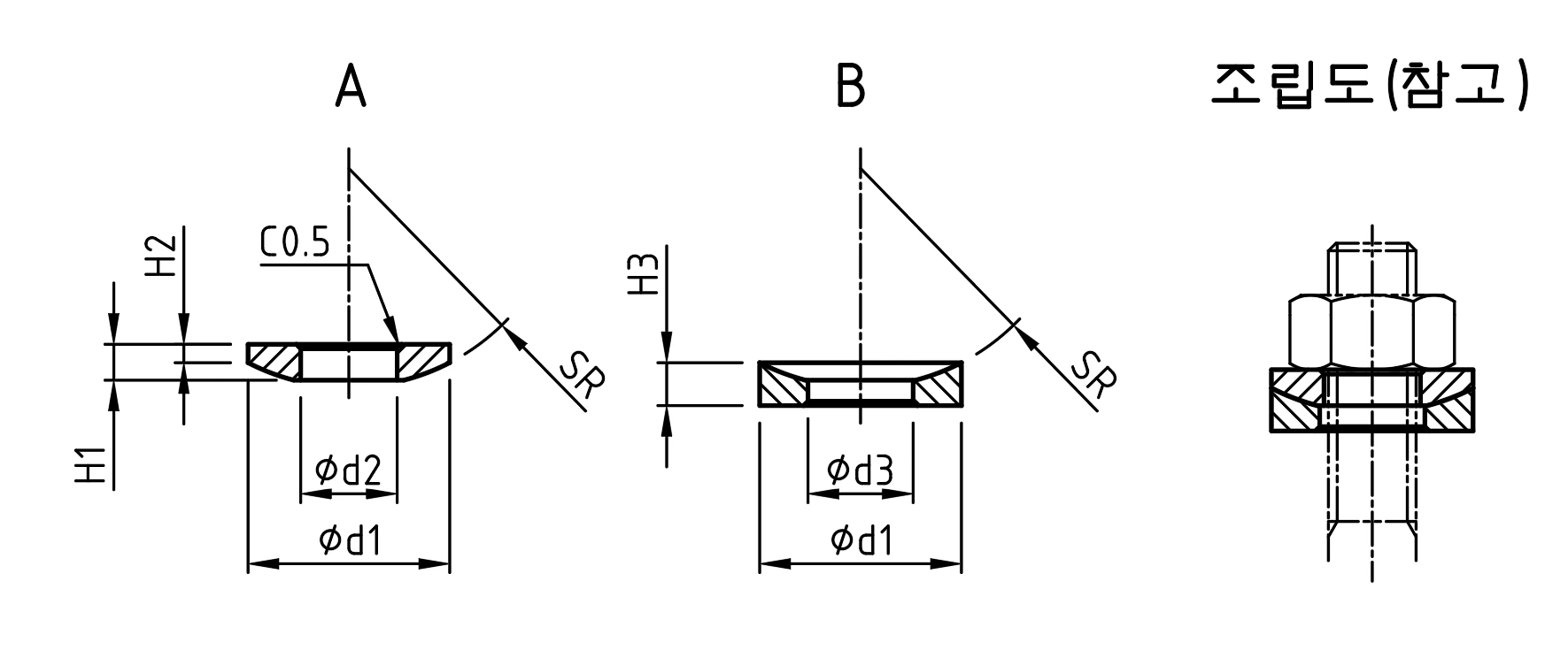
구면 와셔

| 호칭 | d 1 | d 2 | d 3 | H1 | H2 | H3 | SR | 조임 볼트의 호칭 | 참고 (H4) |
| 6 | 13 | 6.6 | 7.2 | 2.3 | 1.4 | 2.8 | 15 | M6 | 4.2 |
| 8 | 17 | 9 | 9.6 | 3.1 | 1.9 | 3.7 | 20 | M8 | 5.6 |
| 10 | 23 | 11 | 12 | 4.1 | 2.1 | 4.9 | 25 | M10 | 7 |
| 12 | 25 | 14 | 15 | 4.5 | 2.8 | 5.6 | 30 | M12 | 8.4 |
| 14 | 29 | 16 | 17 | 5.3 | 3.3 | 6.5 | 35 | M14 | 9.8 |
| 16 | 32 | 18 | 20 | 6 | 3.9 | 7.3 | 40 | M16 | 11.2 |
| 18 | 36 | 20 | 22 | 6.8 | 4.4 | 8.0 | 45 | M18 | 12.6 |
| 20 | 40 | 22 | 24 | 7.6 | 4.9 | 9.1 | 50 | M20 | 14 |
| 22 | 43 | 24 | 27 | 8.4 | 5.5 | 9.9 | 55 | M22 | 15.4 |
| 24 | 48 | 26 | 29 | 9.3 | 5.9 | 10.9 | 60 | M24 | 16.8 |
| 27 | 54 | 30 | 33 | 10.4 | 6.7 | 12.2 | 68 | M27 | 18.9 |
| 비고1 : d2, d3의 허용차는 KS ISO 2768-1의 중간급으로 하고, 그 밖의 치수 허용차는 거칢급으로한다. 비고2 : 이 와셔를 사용하면 최대 2° 이내의 기울기에 적용할 수 있다. 비고3 : 표 중의 호칭에 ( )를 붙인 것은 되도록 사용하지 않는다. |
|||||||||
| A의 SR치수 쪽은 B의 SR치수 보다 작게 다듬질한다. | |||||||||
치공구 구면 와셔 사용 예

153LAB
'국가 기술 자격 CAD 실기 시험 > KS규격' 카테고리의 다른 글
| 패킹(Packings)과 개스킷(Gaskets) (0) | 2025.05.08 |
|---|---|
| 나사의 틈새(Thread Undercut) 정리 (0) | 2025.04.24 |
| 센터구멍(Center Hole)이란 무엇인가? (0) | 2025.04.22 |
| 널링(Knurling) - KS B 0901 (0) | 2025.04.21 |
| 와셔 (Washer)의 사용 목적 (0) | 2023.08.16 |
| 핀(pin) 구멍의 끼워 맞춤 공차 정리 (3) | 2023.04.24 |
| 오일실(Oil seal)의 KS규격 적용 방법 (3) | 2023.04.24 |
| 반달키와 평행키의 KS규격 적용 모델링과 도면 작업 (2) | 2023.04.24 |