
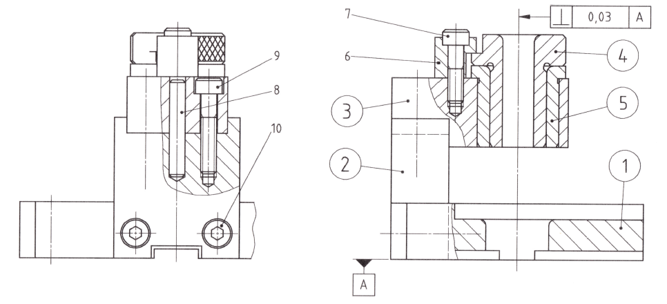
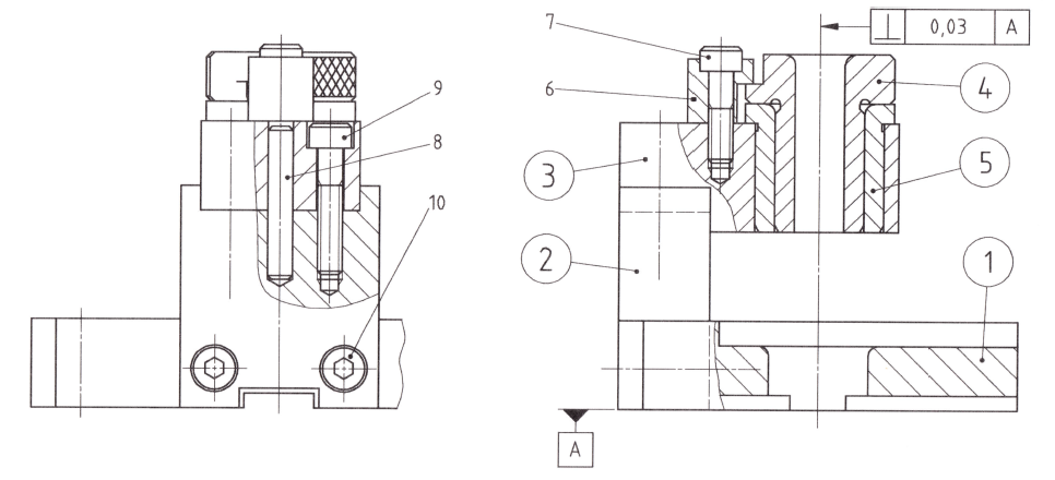
위 조립도에서 ④번 부품이 우회전용 노치형 삽입부시입니다.
⑤번은 삽입부시를 안내하는 고정라이너입니다.
드릴지그는 출제빈도가 높은 과제이며, 드릴지그 출제 시 4개의 부품 중 하나의 부품이 지그용 부시일 경우가 많습니다.
따라서, 삽입부시, 고정부시, 고정라이너의 구분과 모델링, 치수와 공차 적용 연습은 반드시 필요하니 잘 정리하고 시험에 응시하시기 바랍니다.
이번 글에서는 삽입부시(우회전용 노치형)의 모델링과 도면 작업에 대해 알아보도록 하겠습니다.
우회전용 노치형 삽입부시 모델링
모든 링(ring)형태의 부품은 구멍이 규격을 찾는 기준치수가 된다.
(1) 삽입 부시의 안지름( d1: 드릴 지름 )을 자로 측정하여, KS규격에서 찾는다.
삽입부시 안지름(d1)이 Ø10일 때, 규격에 나온 치수는 도면에서의 삽입부시를 자로 측정한 치수보다 작다.
삽입부시 그릴 때, 특히 유의해야 할 것은 안 지름만 재서 규격만 보고 모델링하면 안 된다는 것이다.
삽입부시는 교환을 목적으로 만들어 사용하는 것이니 만큼, 차후 작업시 교체되는 삽입부시의 안 지름 크기의 변화도 고려하여, 자로 측정한 치수가 있는 칸을 보고 모델링해야 한다.

(2) 단면을 스케치한다.

(3) 구석 홈 부의 값은 규격에 없으니 다음과 같이 한다.

나사의 틈새를 생각하여 아래 처럼 그린 후, 원을 추가해 준다.
폭 1, 깊이 1, 각도 30˚


(4) 회전하여 솔리드 바디를 만든다.

(5) 그림과 같이 평면을 선택하여 스케치한다.

(6) 원과 직선 두개를 그리고, 원의 반지름은 C1, 각도는 a를 적용한다.

(7) 각도 입력한 직선 두 개는 구성선으로 바꿔주고, 각 직선상의 중심을 두고, c1 반지름으로 그린 원에 접하는 두 개의 원을 그리고 반지름 r을 준다.

(8) [형상 투영]으로 칼라의 바깥쪽 원을 선으로 추출하고, 그림과 같이 선을 잘라준다.


(9) 돌출로 노치부는 깊이로, 나머지는 관통시킨다.
노치부 깊이 ( 6 ) = l1 ( 10 ) - l3 ( 4 )


(10) R , 모떼기 ( 1 x 45˚ ), 모떼기 ( l2 x30˚ )를 준다.



(11) 빗줄형 널링으로 마무리 한다.
인벤터에서 널링 주는 방법은 아래 글을 참고하기 바랍니다.

인벤터에서 널링의 표현
인벤터에서 널링의 표현 방법에 대해 알아보자. 위와 같이 2가지 널링의 규격이 있다. 바른 줄 , 빗 줄 도면에서 보면 다음과 같다. ① 리드나사축과 손잡이의 모델링 위 도면들 바이스의 리드나
153lab.com

이후 부품도 작업은 아래 글을 참고하세요.
삽입부시 ( 우회전용 노치형 ) 부품도 작업
삽입부시 ( 우회전용 노치형 ) 2D 부품도 작업 지난 시간에 만든 삽입부시를 가지고 부품도 작업을 하도록 하겠습니다. 삽입 부시 ( 우회전용 노치형 ) 모델링 위 조립도에서 ④번 부품이 우회전
153lab.com
전체적인 설명은 영상을 참고하시기 바랍니다.
'국가 기술 자격 CAD 실기 시험 > KS규격' 카테고리의 다른 글
| 반달키와 평행키의 KS규격 적용 모델링과 도면 작업 (2) | 2023.04.24 |
|---|---|
| O링의 KS규격 적용 방법과 도면 작업 (3) | 2023.04.24 |
| 생크(Shank)의 모델링, 도면 작업 (5) | 2023.04.20 |
| 삽입부시 ( 우회전용 노치형 ) 부품도 작업 (4) | 2023.04.19 |
| 2D에서 널링의 지시 방법 ( 빗줄형, 바른줄형 ) (4) | 2023.04.16 |
| 구름 베어링용 로크너트 와셔 KS규격과 도면 작업 방법 (6) | 2023.04.15 |
| 인벤터에서 널링의 표현 (3) | 2023.04.11 |
| C형 멈춤링(C type Snap ring)의 KS 규격 적용 방법 (3) | 2023.04.07 |