센터구멍이란? 기능과 필요성, 가공의 기준

작업형 CAD 실기 시험을 준비하면서 처음 접하는 것 중에 하나가 센터구멍(center hole)입니다. 오늘은 센터구멍이 무엇인지, 왜 필요한지, 그리고 실제 가공에서는 어떤 기준으로 작업하는지까지 자세히 정리해 드리겠습니다.
센터구멍(Center Hole)이란 무엇인가?
센터구멍은 공작물의 양 끝에 만들어진 작은 원형 구멍입니다. 주로 선반가공이나 연삭가공 시, 심압대 센터와 맞물려 공작물을 안정적으로 지지하는 역할을 합니다.
길고 가느다란 부품일수록 회전 시 중심이 흔들리기 쉬운데, 센터구멍을 통해 중심을 정확히 잡아주어 고정밀 가공을 가능하게 만듭니다.
실제 작업을 해보면, 센터구멍이 제대로 뚫려있지 않은 부품은 고속 회전 시 진동이 발생하거나, 가공 중 휘어지는 문제가 빈번하게 발생합니다.
센터구멍의 주요 기능
- 중심 정렬 유지 – 고속 회전에도 중심이 틀어지지 않도록 유지
- 양단 지지 확보 – 긴 공작물이나 무거운 부품을 안정적으로 지지
- 진동 최소화 – 회전 불균형 억제
- 가공 품질 향상 – 원통도, 동심도, 진직도 품질 향상
- 후속 공정 대응 – 열처리나 연삭 후에도 중심 유지
센터구멍이 필요한 경우와 필요 없는 경우
센터구멍이 필요한 경우 |
|
센터구멍이 필요 없는 경우 |
|
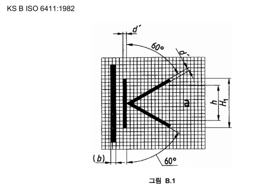
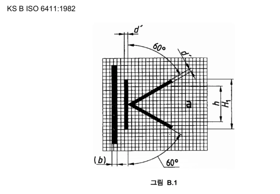
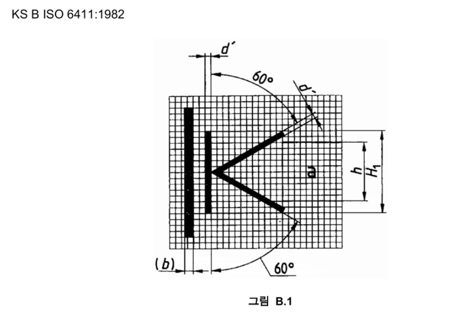
센터구멍 가공 기준 (KS B ISO 6411)
- 형상 – A형(일반형), B형(모따기형), R형(곡선형)
- 기본 중심각 – 60도 (필요시 90도, 120도 가능)
- 파일럿 직경(d) – 공작물 외경의 약 10~15%
- 구멍 깊이(t) – 센터드릴 규격 이상 확보
- 공차 – H6, H7 등급 권장
센터구멍 도시 기호의 크기 (KS B ISO 6411:1982)


마무리
센터구멍은 단순한 구멍 하나를 넘어, 고정밀 가공의 출발점이며, 전체 품질을 지탱하는 중요한 포인트입니다.
국가기술자격 CAD 실기시험에서도 조립도를 해독하면서 부품에 센터구멍이 필요한지 아닌지를 스스로 판단할 수 있어야 합니다.
153LAB
'국가 기술 자격 CAD 실기 시험 > KS규격' 카테고리의 다른 글
| 패킹(Packings)과 개스킷(Gaskets) (0) | 2025.05.08 |
|---|---|
| 나사의 틈새(Thread Undercut) 정리 (0) | 2025.04.24 |
| 널링(Knurling) - KS B 0901 (0) | 2025.04.21 |
| 치공구용 와셔 - (1) 구면 와셔 (0) | 2023.11.11 |
| 와셔 (Washer)의 사용 목적 (0) | 2023.08.16 |
| 핀(pin) 구멍의 끼워 맞춤 공차 정리 (3) | 2023.04.24 |
| 오일실(Oil seal)의 KS규격 적용 방법 (3) | 2023.04.24 |
| 반달키와 평행키의 KS규격 적용 모델링과 도면 작업 (2) | 2023.04.24 |