▶ 투상도의 종류와 표시 방법
1. 일반 사항
2. 주 투상도
3. 보조 투상도
4. 회전 투상도
5. 부분 투상도
6. 국부 투상도
7. 부분 확대도
1. 일반 사항
● 대상물의 정보를 가장 명료하게 나타내는 투상도를 주 투상도 또는 정면도로 한다.
● 다른 투상도(단면도 포함)가 필요한 경우에는 모호함이 없도록 완전히 대상물을 규정하는 데 필요하고, 충분한 투영도 및 단면도의 수로 한다.
● 가능한 숨겨진 외형선과 모서리를 표현할 필요가 없는 투상도를 선택한다.
● 불필요한 세부 사항의 반복은 피한다.
● 주 투상도는 대상물의 형상 및 기능을 가장 명확하게 표시하는 면을 그린다. 또한, 대상물을 도시하는 상태는 도면의 목적에 따라 다음 중 하나에 따른다.
- 조립도 등 주로 기능을 표시하는 도면에서는 대상물을 사용하는 상태

- 부품도 등 가공하기 위한 도면에서는 가공에 있어서 도면을 가장 많이 이용하는 공정에서 대상물을 놓는 상태
(a) 선삭 가공, (b) 평삭 가공

● 주 투상도를 보충하는 다른 투상도는 되도록 적게 하고, 주 투상도만으로 투상이 가능할 때는 다른 투상도는 그리지 않는다.

● 서로 관련되는 그림의 배치는 되도록 숨은 선을 쓰지 않도록 한다.(a) 다만, 비교 대조하기 불편할 경우에는 예외로 한다.(b)

3. 보조 투상도
● 경사면이 있는 대상물에서 그 경사면의 실형을 표기할 필요가 있는 경우에는 다음에 의하여 보조 투상도로 표시한다.
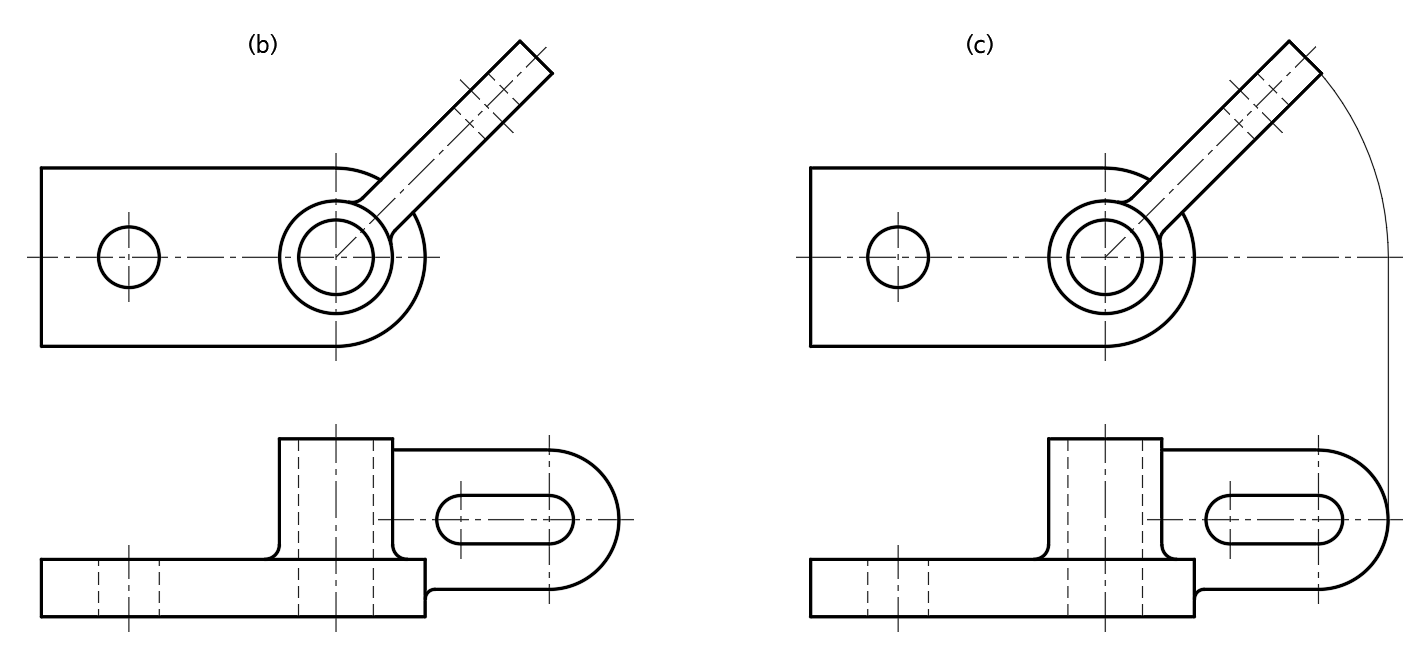
● 대상물 경사면의 실형을 도시할 필요가 있을 경우에는 그 경사면과 맞서는 위치에 보조 투상도를 표시한다.
이 경우, 필요한 부분만을 부분 투상도(a) 또는 국부 투상도(b)로 그리는 것이 좋다.

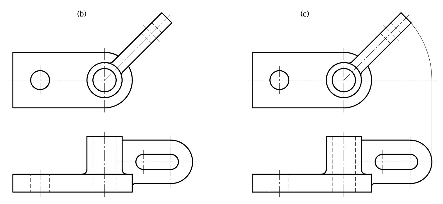
● 지면의 관계 등으로 보조 투상도를 경사면에 맞서는 위치에 배치할 수 없는 경우에는 화살표를 이용하여 나타내고, 그 의미를 화살표 및 영문자의 대문자로 나타낸다.(a)
그림 (b)와 같이 구부린 중심선을 연결하여 투상 관계를 표시해도 좋다.

4. 회전 투상도
● 투상면이 어떤 각도를 가져서 그 실형을 표시하지 못할 때에는 그 부분을 회전해서 그 실형을 도시할 수 있다. (a), (b) 또한 잘못 볼 우려가 있을 경우에는 작도에 사용한 선을 남긴다.(c)


5. 부분 투상도
● 그림의 일부를 도시하는 것으로 충분한 경우에는 그 필요 부분만을 부분 투상도로서 표시한다. 이 경우에는 생략한 부분과의 경계를 파단선으로 나타낸다. 다만, 명확한 경우에는 파단선을 생략하여도 좋다.

6. 국부 투상도
● 대상물의 구멍, 홈 등 한 국부만의 모양을 도시하는 것으로 충분한 경우에는 그 필요 부분을 국부 투상도로서 나타낸다. 투상 관계를 나타내기 위하여 원칙으로 주된 그림에 중심선, 기준선, 치수 보조선 등으로 연결한다.


7. 부분 확대도
● 특정 부분의 도형이 작아서 그 부분의 상세한 도시나 치수 기입을 할 수 없을 때는 그 부분을 가는 실선으로 에워싸고, 영문자 대문자로 표시함과 동시에 그 해당 부분을 다른 장소에 확대하여 그리고, 표시하는 글자 및 척도를 부기한다. 다만, 확대한 그림의 척도를 나타낼 필요가 없는 경우에는 척도 대신 "확대도"라도 부기하여도 좋다.

153LAB
'기초 제도' 카테고리의 다른 글
| 끼워 맞춤공차 (Fit Tolerance) 연습하기 (0) | 2025.05.02 |
|---|---|
| 도형의 생략 (0) | 2023.06.02 |
| 단면도의 종류와 표시 방법, 긴 쪽 방향으로 절단하지 않는 것. (3) | 2023.05.27 |
| 도면에서 사용하는 선의 굵기, 모양, 종류 (2) | 2023.05.24 |
| 부품 번호, 도면의 변경, 치수 보조 기호, 자리 파기에 대한 치수 기입 (3) | 2023.05.22 |
| 치수 기입법 - 치수 기입의 원칙, 배치, 표시 방법, 주의 사항 (4) | 2023.05.22 |
| 공구의 종류와 가공 구멍의 모양 (2) | 2023.05.21 |
| 작은 나사의 모양과 종류 (2) | 2023.05.21 |