▶ 단면도의 종류와 표시 방법, 긴 쪽 방향으로 절단하지 않는 것.
가려져 보이지 않는 부분을 알기 쉽게 나타내기 위하여 단면도로 나타낼 수 있다.
단면도의 도형은 절단면을 사용하여 대상물을 절단하였다고 가정하고 절단면의 앞부분을 제거하고 투상도의 표시 방법과 같이 그린다.

1. 온 단면도
2. 한쪽 단면도
3. 부분 단면도
4. 회전 도시 단면도
5. 조합에 의한 단면도
6. 다수의 단면도에 의한 도시
7. 긴 쪽 방향으로 절단하지 않는 것
8. 단면도의 해칭
9. 얇은 두께 부분의 단면도
1. 온 단면도
a) 대상물의 기본적인 형상을 가장 좋게 표시할 수 있도록 절단면을 설정하여 그린다. 절단한 위치를 명확히 알 수 있는 경우에는 절단선은 기입하지 않는다.
※ 주로 대칭형에서 대칭 중심선을 기준으로 절단하였을 때는 생략한다.

b) 필요한 경우에는 특정 부분의 모양을 잘 표시할 수 있도록 절단면을 설정하여 그리는 것이 좋다. 이 경우에는 절단선에 의하여 절단 위치를 나타낸다.
※ 절단한 위치를 알려주지 않으면 알기 어려울 때는 절단선을 사용한다.

2. 한쪽 단면도
대칭형의 대상물은 외형도의 절반과 온 단면도의 절반을 조합하여 표시할 수 있다.
※ 대칭형에서 대칭 중심선을 기준으로 한쪽은 바깥쪽 모양을 보여주고, 나머지 한쪽은 안쪽 모양을 보여주는 것을 말한다.

3. 부분 단면도
외형도에서 필요로 하는 요소의 일부만을 부분 단면도로 표시할 수 있다. 이 경우, 파단선에 의하여 그 경계를 나타낸다.

4. 회전 도시 단면
핸들이나 바퀴 등의 암 및 림, 리브, 훅, 축, 구조물의 부재 등의 절단면은 다음에 따라 90˚ 회전하여 표시하여도 좋다.
a) 절단할 곳의 전후를 파단해서 그 사이에 그린다.

b) 절단선의 연장선 위에 그린다.

c) 도형 내의 절단한 곳에 겹쳐서 가는 실선을 사용하여 그린다.


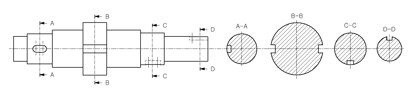
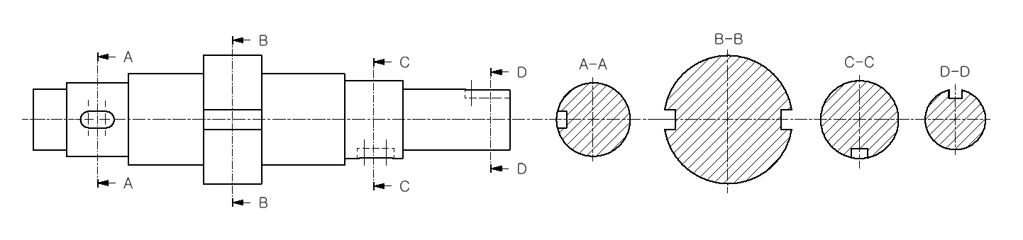
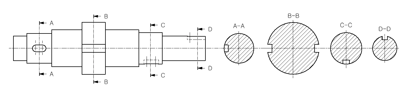
5. 조합에 의한 단면도
2개 이상의 절단면에 의한 단면도를 조합하여 나타내는 단면 도시는 다음에 따른다. 또한, 이와 같은 경우 필요에 따라서 단면을 보는 방향을 나타내는 화살표와 글자 기호를 붙인다.
a) 대칭형 또는 대칭형에 가까운 모양을 가진 대상물의 경우에는 대칭의 중심선을 경계로 하여 그 한쪽을 투상면에 평행하게 절단하고, 다른 쪽을 투상면과 어떤 각도를 이루는 방향으로 절단할 수가 있다. 이 경우, 후자의 단면도는 그 각도만큼 투상면 쪽으로 회전시켜서 도시한다.


b) 단면도는 평행한 두 개 이상의 평면에서 절단한 단면도의 필요 부분만을 합성해서 나타낼 수 있다. 이 경우, 절단선으로 절단해서 위치를 나타내고 조합에 의한 단면도라는 것을 나타내기 위하여 두 개의 절단선을 임의의 위치에서 이어지게 한다.

c) 구부러진 관 등의 단면을 표시하는 경우에는 그 구부러진 중심선에 따라 절단하고, 그대로 투상할 수 있다.

d) 단면도는 필요에 따라 위의 a)~c)의 방법을 조합하여 표시하여도 좋다.
6. 다수의 단면도에 의한 도시
다수의 단면도에 의한 도시는 다음에 따른다.
a) 복잡한 형상의 대상물을 표시하는 경우, 필요에 따라 다수의 단면도를 그려도 좋다.

b) 하나로 이어진 단면도는 치수의 기입과 도면의 이해에 편리하도록 투상의 방향을 맞추어서 그리는 것이 좋다. 이 경우, 절단선의 연장선상 또는 주 중심선상에 배치하는 것이 좋다.


c) 대상물의 모양이 서서히 변화하는 경우, 다수의 단면에 의하여 표시할 수 있다.

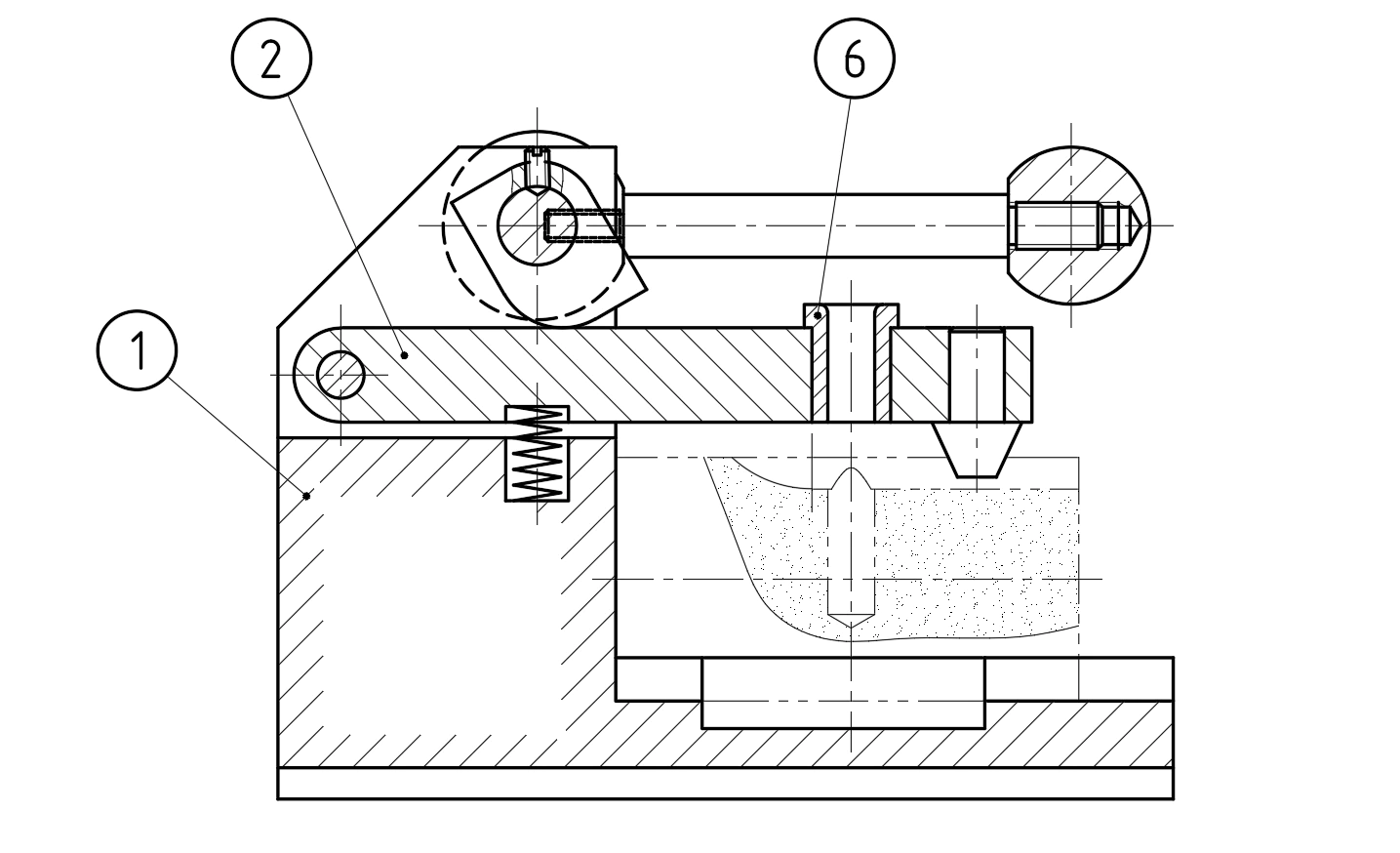
7. 긴 쪽 방향으로 절단하지 않는 것
a) 절단하면 오히려 이해를 방해하는 것.
리브, 암, 기어의 이
b) 절단하여도 의미가 없는 것
축, 핀, 볼트, 너트, 와셔, 작은 나사, 리벳, 키, 강구, 원통 롤러

8. 단면도의 해칭
단면도의 절단면에 해칭(또는 스머징)을 할 필요가 있을 경우에는 다음에 따른다.
※ 해칭(Hatching) : 특정 영역을 일정한 선의 패턴으로 나열하는 것.
※ 스머징(Smudging) : 특정 영역을 엷게 칠하는 것.
a) 같은 절단면상에 나타나는 같은 부품의 단면에는 같은 해칭(또는 스머징)을 한다. 다만, 계단 모양의 절단면의 각 단에 나타나는 부분을 구분할 필요가 있을 경우에는 해칭을 같은 방향으로 중복되지 되지 않게 한다. 또한 해칭은 주된 중심선에 대하여 45˚로 하는 것이 좋다.

b) 인접한 단면의 해칭은 선의 방향 또는 각도를 변경하든지 그 간격을 변경하여 구별한다. 또한, 단면 면적이 넓은 경우에는 그 외형선을 따라서 적절한 범위에 해칭(또는 스머징)을 한다.

c) 단면도에 재료 등을 표시하기 위하여 특수한 해칭(또는 스머징)을 하여도 좋다. 이 경우에는 그 뜻을 도면 내에 명확하게 지시하거나 해당 표준을 인용하여 나타낸다.
9. 얇은 두께 부분의 단면도
개스킷, 박판, 형강 등에서 절단면이 얇은 경우에는 다음에 따라 표시할 수 있다.
a) 절단면을 검게 칠한다.
b) 실제 치수와 관계없이 1개의 아주 굵은 실선으로 표시한다.
또한, 어떤 경우라도 이들의 단면이 인접되어 있을 경우에는 그것을 표시하는 도형 사이(다른 부분을 표시하는 도형과의 사이도 포함한다.)에 약간의 간격을 둔다. 다만, 이 간격은 0.7mm 이상으로 한다.

153LAB
'기초 제도' 카테고리의 다른 글
| 끼워 맞춤공차 (Fit Tolerance) 연습하기 (0) | 2025.05.02 |
|---|---|
| 도형의 생략 (0) | 2023.06.02 |
| 투상도의 종류와 표시 방법 (2) | 2023.05.25 |
| 도면에서 사용하는 선의 굵기, 모양, 종류 (2) | 2023.05.24 |
| 부품 번호, 도면의 변경, 치수 보조 기호, 자리 파기에 대한 치수 기입 (3) | 2023.05.22 |
| 치수 기입법 - 치수 기입의 원칙, 배치, 표시 방법, 주의 사항 (4) | 2023.05.22 |
| 공구의 종류와 가공 구멍의 모양 (2) | 2023.05.21 |
| 작은 나사의 모양과 종류 (2) | 2023.05.21 |