
인벤터(Inventor)에서 도면 작업 중 부품을 절단할 때 가장 많이 사용하는 명령은 브레이크 아웃(Break out)입니다.
브레이크 아웃으로 온 단면도, 한쪽 단면도, 부분 단면도, 부분 투상도 등을 만들 수 있어 사용 빈도가 높은 명령입니다.
이번 포스팅에서는 브레이크 아웃의 개념과 적용 방법에 대해 알아보도록 하겠습니다.
연습을 위해 아래 링크를 눌러 - 동력 6 본체 - 예제 파일을 먼저 다운로드하세요.
도면 연습을 위한 동력전달장치4, 동력전달장치6 본체 ipt
인벤터2020 버전
153lab.com
인벤터에서 다운로드한 파일을 열어 연습하도록 하겠습니다.

1. 새로 만들기
새로 만들기 버튼을 눌러 JIS.idw를 선택한다.

2. 투상도 작도
아래 그림과 같이 정면도, 우측면도, 저면도의 투상도를 작도하고, 외형선만 보이도록 한다.


3. 브레이크 아웃의 프로파일 작성
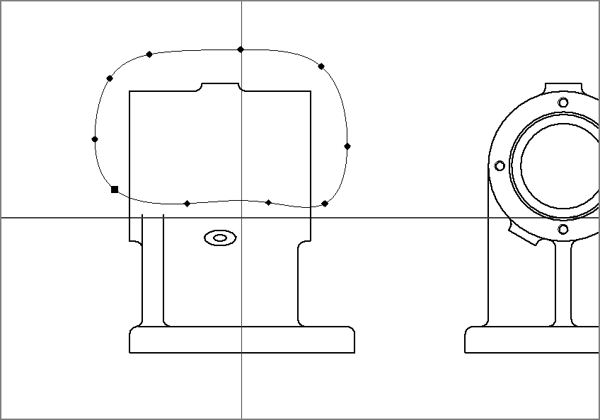
본체 위쪽에 있는 구멍들의 크기를 명확히 보여주기 위해 정면도에서 구멍의 단면을 만들어 보자.
ⓐ 정면도를 선택하고 [스케치 시작] 버튼을 클릭하여 스케치 환경으로 들어간다.

ⓑ 절단해서 보여 줄 영역을 [스플라인 보간]을 이용해서 그린다.

브레이크 아웃에 사용될 스케치는 닫히게 만들어야 한다.
※ 브레이크 아웃은 닫힌 곡선을 돌출시켜 솔리드 바디(Solid body)의 일 부분 및 전체를 잘라내고, 잘라낸 후의 모습을 뷰에 투영시켜 주는 명령이다. 따라서 곡선은 닫히게 만들어야 한다.

ⓒ [스케치 마무리] 버튼을 클릭하여, 스케치를 종료한다.

4. 브레이크 아웃을 이용한 부분 단면
재료(스케치)가 모두 준비되었으므로 브레이크 아웃을 이용해 부분 단면을 해보도록 하자.
[뷰 배치] - [브레이크 아웃] 명령을 클릭한다.

ⓐ [브레이크 아웃] 명령으로, 부분 단면도를 만들 정면도를 선택한다.

ⓑ 뷰에 포함되어 있는 닫힌 프로파일이 하나이므로, 프로파일은 자동 선택되며, 절단할 깊이를 지정하면 된다.
아래 그림과 같이 절단면이 위치가 될 한 점을 지정한다. (빨간색 선= 절단면)

절단면이 위치할 선상에 어느 위치를 지정하여도 좋다.

ⓒ 결과
브레이크 아웃으로 부분 단면이 완성되었다.

5. 브레이크 아웃의 개념
위의 과정이 어떤 방법으로 되었는지 다시 개념상 정리를 하도록 하자.
ⓐ 브레이크 아웃의 프로파일 작성
정면도를 선택하고, 스케치 환경에서 닫힌 프로파일을 완성하였었는데, 이것은 정면도를 보는 방향에 수직 한 임의의 평면에 닫힌 프로파일 작업을 한 것이다.

ⓑ 깊이 지정
솔리드 바디를 절단할 깊이를 말하며, 프로파일을 있어야 하는 평면의 위치를 말한다고 생각하면 된다.
따라서 평면이 위치할 점을 지정하는 것이다.

ⓒ 돌출과 절단
브레이크 아웃의 [확인] 버튼을 누름으로써 평면에 놓인 프로파일을 투상도를 보는 방향으로 돌출하여 절단한다.


ⓓ 결과
브레이크 아웃 명령으로 선택한 뷰(여기서는 정면도)에서 위의 절단된 형상이 선으로 투영되게 되는 것이다.

5. 응용
실제 우리가 도면에서 보는 뷰(View)는 2D 와이어프레임이 아니라 3D 와이어프레임이다.
뷰를 보는 방향에서의 가시적 모서리와 모선(실루엣), 숨겨진 모서리와 모선을 보여주는 것이다.


이 개념을 이용하면 브레이크 아웃의 깊이 점을 지정할 때 아주 편한데, 다음과 같이 연습하도록 하자.
ⓐ 본체 아래쪽 볼트 구멍을 단면 하기 위해 그림과 같이 스케치를 작성한다.

ⓑ 구멍의 중심까지 절단하기 위해 숨은선의 중간점을 선택한다. 정확히는 숨은선의 중간점이 아닌 중심점이다.


ⓒ 정확히 구멍의 중심을 기준으로 단면 되었다.

ⓓ Undo (Ctrl + z)로 작업을 되돌리고, 브레이크 아웃 명령을 재 실행 한 후에 깊이 점으로 모선을 선택한다.


ⓔ 결과는 같다.

이상으로 인벤터(Inventor)의 브레이크 아웃(Break Out)의 개념과 응용 방법에 대해 알아보았습니다.
정확한 개념을 습득하셔서 작업시에 편리하게 사용하시기 바랍니다.
153LAB
'인벤터' 카테고리의 다른 글
| 치수를 누락하지 않는 방법 - 스케치 보기와 모형 주석 검색 (0) | 2023.07.19 |
|---|---|
| 줌 인 아웃 - 마우스 휠의 방향 변경하는 법 (1) | 2023.05.09 |
| 전산응용기계제도기능사 질량 기입 방법 (1) | 2023.05.03 |
| 분할을 활용한 이중 스퍼 기어 박스 인벤터 모델링 (2) | 2023.05.02 |
| 인벤터의 "자동화된 중심선" 기본 설정 변경하기 (2) | 2023.03.31 |
| [인벤터] 포크 (Fork) 모델링 (0) | 2022.08.29 |
| [인벤터] 머그컵(Mug cup) 모델링 (0) | 2022.08.29 |
| [인벤터] 나이프(knife) 모델링 (0) | 2022.08.27 |