기계, 금형에서 많이 사용하는 볼트인 육각구멍붙이 볼트(육각홈붙이볼트, 육각렌치볼트)의 규격에 대해서 알아보도록 하겠습니다.
기계설계, 금형설계를 하시려는 분들은 필수 부품이니 꼭 한 번씩은 모델링이나 도면 작업을 해보시기 바랍니다.
1. 육각 구멍 붙이 볼트의 치수

육각구멍붙이볼트의치수.pdf
0.27MB
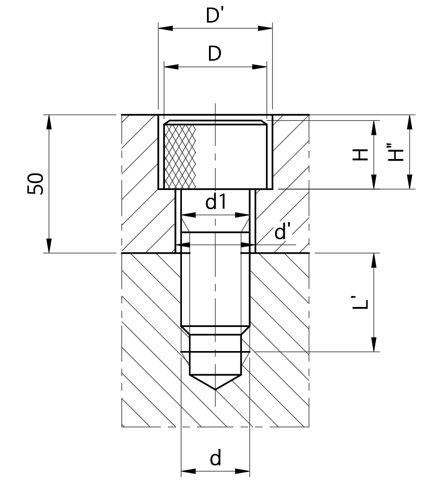
2. 육각 구멍 붙이 볼트의 자리파기 및 볼트 구멍의 치수

L' ( 탭 구멍의 깊이 )
강 = 1.2d, 주철 = 1.5d, 청, 황, AL = 2d
'기초 제도' 카테고리의 다른 글
| 부품 번호, 도면의 변경, 치수 보조 기호, 자리 파기에 대한 치수 기입 (3) | 2023.05.22 |
|---|---|
| 치수 기입법 - 치수 기입의 원칙, 배치, 표시 방법, 주의 사항 (4) | 2023.05.22 |
| 공구의 종류와 가공 구멍의 모양 (2) | 2023.05.21 |
| 작은 나사의 모양과 종류 (2) | 2023.05.21 |
| 육각 머리 볼트와 너트를 그리는 순서와 방법 (2) | 2023.05.20 |
| 사각 머리 볼트와 너트를 그리는 순서와 방법 (2) | 2023.05.20 |
| 육각 머리 볼트 / 탭 구멍의 제도, 치수, 표시법 (3) | 2023.05.19 |
| 수나사와 암나사의 도법 (3) | 2023.05.19 |
