
오일실(Oil seal)의 KS규격 적용 방법
내부의 그리스의 유출 방지와 외부의 이물질 침투 방지를 하는 오일실은 작업형 CAD실기 시험 (일반기계기사, 기계설계산업기사, 전산응용기계제도기능사)에 자주 등장하는 부품입니다.
이번 시간에는 오일실에 관련된 축과 구멍의 치수와 공차를 빠르게 정리하도록 하겠습니다.

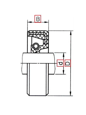
오일실의 변수
d : 오일실의 안 지름 (호칭 지름)
D : 오일실의 바깥지름
B : 폭
오일실은 자로 측정해서 규격과 비교 > 치수 확정을 해야 한다.
자로 쟤고 찾는 순서는 d > D > B 순서로 하고, 자로 쟨 값과 규격을 비교 확인한다.

여기에서는 d: 17, D:32, B:8이라 하겠다.

모델링과 도면작업에서 축과 구멍을 작업할 때 오일실 규격을 참고한다.

이것을 정리하면 다음과 같다.
① 축
오일실의 안 지름에 끼워지는 축에서의 모떼기 값과 모서리 둥글기(라운드) 값과 모떼기의 표면거칠기는 이러하다.
모떼기 거리 : 2
각도 : 30°
라운드 : R0.5, R4
모떼기 표면거칠기 : x (축의 대표 표면거칠기를 x로 하면 기입하지 않는다)
끼워 맞춤공차는 규격에 있는 데로 h8로 적용하고 오일실과 미끄럼 접촉하는 부분의 표면거칠기는 z로 한다.
끼워 맞춤공차 : h8
끼워 맞춤부의 표면거칠기 : z


② 하우징 ( 구멍 )
하우징부의 모떼기 값과 구석의 둥글기(필렛)은 범위로 나와 있으나 항상 일괄되게 적용한다.
모떼기 거리 L =0.1B
각도 = 30°
라운드 = R1
필렛 = R0.5
B' = B+0.2 ≤ B:6 < B+0.3
표면거칠기와 끼워 맞춤공차
모떼기 표면거칠기 : x
끼워맞춤공차 : H8
끼워 맞춤부의 표면거칠기 : y
오일실 측면 접촉부 : x

B'는 오일실 폭 B를 기준으로 선정한다.
B값이
6 초과일 때는
B' = B+0.3
이하일 때는
B' = B+0.2
이렇게 2가지만 기억하자.
[참고]
| B | B' |
| 6이하 | B+0.2 |
| 6-10 | B+0.3 |
| 10-14 | B+0.4 |
| 14-18 | B+0.5 |
| 18-25 | B+0.6 |
시험을 며칠 앞두고 아주 기초적인 부분이지만 정리코자 글로써 올려놓았습니다.
써놓고 보니 오히려 장황한데, 규격을 보면 거의 다 나와 있는 치수고, 우리가 정해서 주는 R값이라든지, B'정도 값만 신경 써주면 될 것입니다.
한 번의 합격을 위해 파이팅입니다.

'국가 기술 자격 CAD 실기 시험 > KS규격' 카테고리의 다른 글
| 널링(Knurling) - KS B 0901 (0) | 2025.04.21 |
|---|---|
| 치공구용 와셔 - (1) 구면 와셔 (0) | 2023.11.11 |
| 와셔 (Washer)의 사용 목적 (0) | 2023.08.16 |
| 핀(pin) 구멍의 끼워 맞춤 공차 정리 (3) | 2023.04.24 |
| 반달키와 평행키의 KS규격 적용 모델링과 도면 작업 (2) | 2023.04.24 |
| O링의 KS규격 적용 방법과 도면 작업 (3) | 2023.04.24 |
| 생크(Shank)의 모델링, 도면 작업 (5) | 2023.04.20 |
| 삽입부시 ( 우회전용 노치형 ) 부품도 작업 (4) | 2023.04.19 |
