지난 포스팅에서 투상도 작도와 치수 기입을 위한 모델링을 하였습니다.
치수 기입에 대해 알아 보자 - (1) 모델링
우리는 CAD 실기 시험을 볼 때, 3D 모델링을 하고, 2D 부품도 작업을 합니다. 3D 모델링은 형상별로 모델링하고 그 과정 속에서 형상 별로 치수 기입을 합니다. 그런데 왜 도면 작업할 때는 제대로
153lab.com
이번에는 투상도 작도하는 방법에 대해 알아보도록 하겠습니다.
투상도 작도
투상도 작도의 순서도 모델링의 순서와 같다.
전체 형상부터 외부형상, 내부 형상(구멍)이 잘 보이도록 하고, 중심선을 추가한다.
전체, 외부 형상
내부 형상 (구멍)
중심선
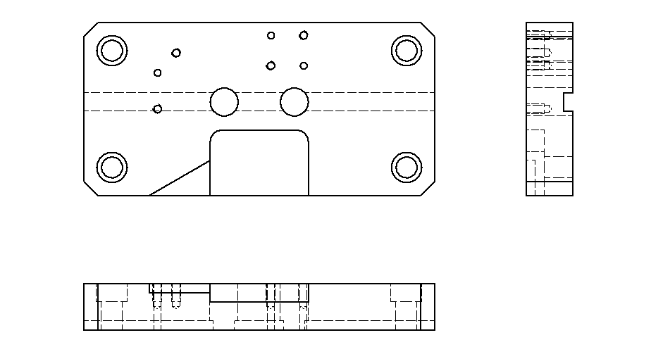
ⓐ 부품의 외형이 잘 보여야 한다.
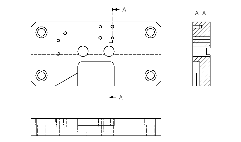
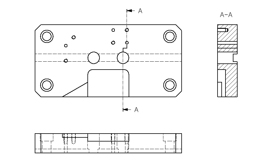
부품의 전체적인 모양과 외형이 잘 보이도록 아래와 같이 투상도 3개를 만든다. 정면도, 우측면도, 저면도
일반적인 평삭 가공에서는 면적이 넓은 면을 가로로 길게 놓인 것이 정면도가 된다.

구멍의 위치가 잘 보여야 한다.
ⓑ 구멍의 위치가 잘 보이는지 확인한다.
구멍의 위치가 잘 보인다는 것은 구멍이 원으로 구멍의 개수만큼 보여야 한다는 것이다.
총 구멍의 개수는 12개인데 현재 정면도에서 12개의 구멍이 모두 보인다.

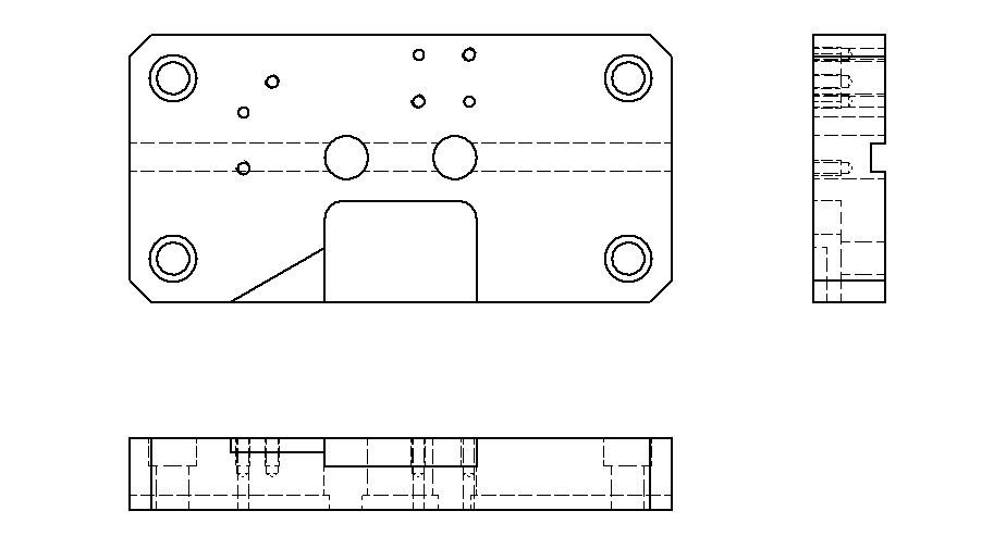
구멍의 크기가 잘 보여야 한다.
구멍은 모두 12개이지만 같은 모양과 크기를 갖는 구멍은 4가지이다.

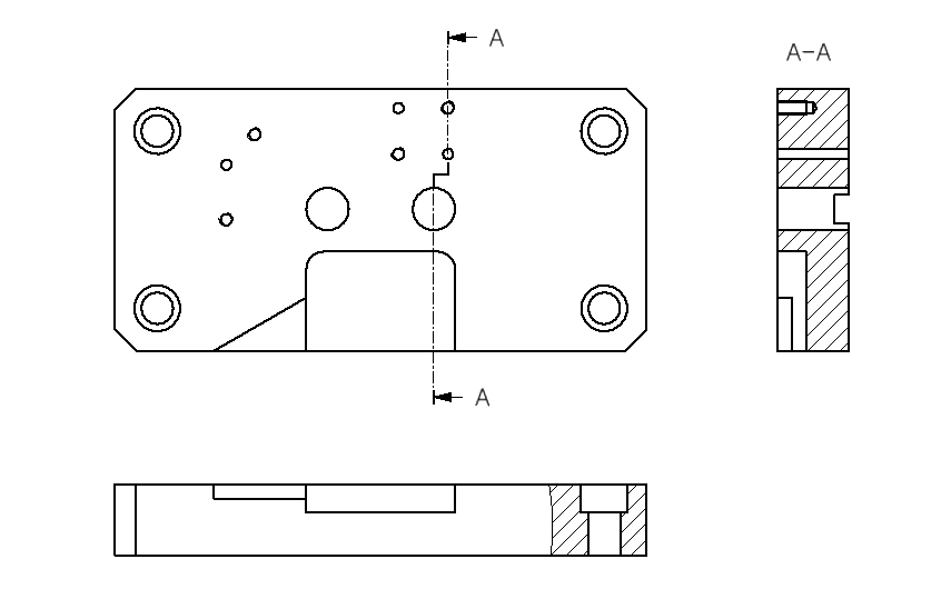
ⓒ 구멍의 크기를 잘 보이도록 하기 위해서는 단면을 한다.
구멍의 종류별로 하나씩만 하면 된다. 단면 할 구멍은 4개이다.
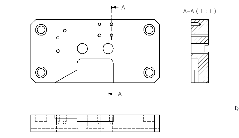
정면도를 더블 클릭하여 [도면 뷰] 창에서 [은선]의 가시성을 켠다.


4개의 구멍의 단면을 어떻게 할지 고민하는 시간이다.
아래 그림과 같이 카운터 보어는 부분 단면을 하고 나머지는 3개의 구멍은 세로 방향으로 계단 단면을 하자.

우측면도는 단면도로 할 것이기에 기존 우측면도는 삭제하고 아래와 같이 우측 단면도를 새로 작성한다.

A-A ( 1 : 1 )에서 척도의 글자는 삭제한다.

꺾긴 부분에 선이 생기는데 가시성을 꺼야 한다.


저면도를 선택하고 [ 스케치 시작 ] 버튼을 클릭한다.

부분 단면할 영역을 [스플라인 보간]으로 아래와 같이 그린다.

[스케치 마무리]하고 [브레이크 아웃] 명령으로 프로파일을 선택하고 시작 점을 지정한다.

단면 된 모습

숨은선을 끄고 구멍의 위치와 크기가 잘 보이는지 확인한다.

중심선을 만들 때는 항상 숨은선을 켜고, 자동화된 중심선을 먼저 사용하자.
[자동화된 중심선]을 사용하기 위해 숨은선을 다시 보이게 한다.

정면도, 우측면서, 저면도를 키보드의 [ Shift 키]와 마우스 왼쪽 버튼으로 선택하고, 자동화된 중심선을 실행한다.



정면도를 선택하고, [은선 제거]를 클릭하여, 숨은선을 끈다.


저면도에서 보는 방향에서 먼 뒤쪽에 작은 구멍의 중심선까지 모두 보여줄 필요는 없고, 정면도에서는 가로로 관통되는 아래쪽 사각 홈(키 홈)이 도시되는 것이 좋다.
정면도가 기준 뷰이므로 숨은선을 보이게 하면, 다른 뷰에도 영향을 주므로, 저면도를 더블 클릭하여, [기준으로부터의 스타일]을 해제하고, [은선 제거]를 한다.

숨은선이 보이는 키 홈의 가운데에 중심선을 새로 작도한다.

완성된 투상도의 모습

이상으로 투상도의 작도법을 알아보았습니다.
모델링과 마찬가지로 투상도도 큰 형상 > 작은 형상 순으로 작도하고, 마지막에 중심선을 표현합니다.
다음 포스팅에서는 작도된 투상도 위에 치수 기입을 해 보도록 하겠습니다.
153LAB
'국가 기술 자격 CAD 실기 시험 > 기계 제도와 도면 해독' 카테고리의 다른 글
| 동력전달장치의 부품별 재질 선정 (0) | 2023.07.05 |
|---|---|
| 주물면과 가공면의 구분 (2) | 2023.07.03 |
| 치공구의 시작 - 바이스1 #모델링부터 도면 작업까지 전 과정 따라하기 (2) | 2023.06.26 |
| 투상도 작도와 치수 기입 방법 최종 - (3) 치수 기입 (1) | 2023.05.11 |
| 투상도 작도와 치수 기입 방법 - (1) 모델링 (1) | 2023.05.09 |
| 테이퍼 축에 있는 키 홈의 국부 투상도 (1) | 2023.05.08 |
| 단면에서 리브( RIB )의 선 정리 방법 (1) | 2023.04.28 |
| 이중스퍼기어 - 부품도 작업과 요목표 (1) | 2023.04.26 |