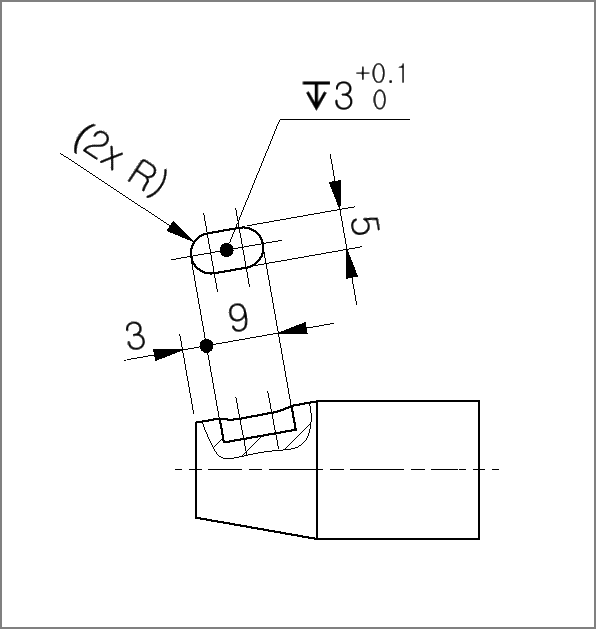
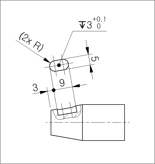
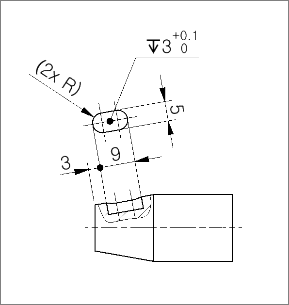
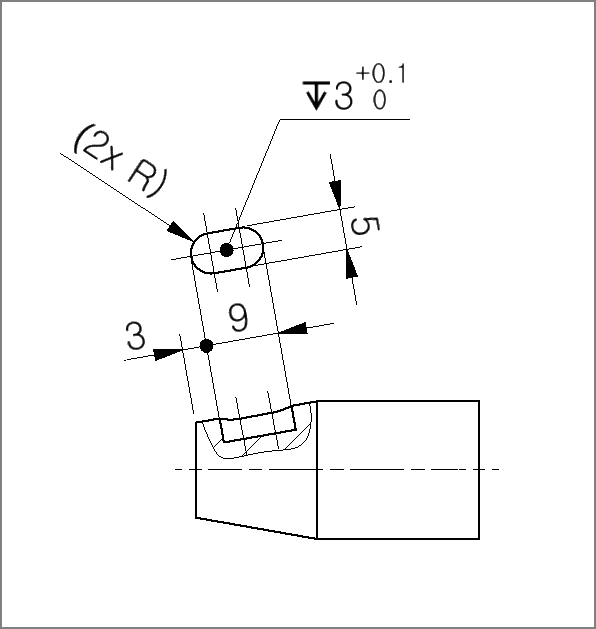
테이퍼 축에 있는 키 홈의 국부 투상도
테이퍼 축에 평행 키나 반달 키가 있을 때의 인벤터에서 #보조 투상도 만드는 방법에 대해 알아보도록 하겠습니다.

1. 테이퍼 축 모델링
축의 일부만 모델링하도록 하자.
① 인벤터의 X - Y 평면에 다음과 같이 스케치한다.

② [회전]하여 축을 만든다.


③ [돌출]로 키 홈을 만든다. - 대칭 방향, 5mm

④ 4개의 모서리에 [모깍기]로 R2.5를 필렛을 준다.

⑤ [저장]한다.

2. 투상도 작도
미리 만들어 놓은 도면에서 투상도를 작도한다.
① 정면도 작도
[기준] 뷰를 아래 그림과 같이 작도한다.


② 정면도를 더블 클릭하여 [은선]의 가시성을 켠다.

③ 키 홈의 국부 투상도 작도
[보조] 뷰를 클릭하고 기준 뷰를 선택한다.


'뷰 방향을 정의할 선형 모형 모서리를 선택'하라고 화면 좌측 하단에 메시지가 보인다.

그림과 같이 뷰의 방향과 같은 직선을 선택한다.

배치할 위치로 드래그하여 적당한 위치에 클릭한다.


뷰 이름(A)과 척도(1:1), 화살표는 출력되지 않도록 도면 밖으로 이동시킨다.

정면도에서는 키 홈의 깊이가 보이도록 '부분 단면'하고 보조 투상도에서는 국부 투상도로 키 홈의 모양만 보이도록 투상도를 정리한다. (브레이크 아웃, 오리기, 가시성)

중심선과 보조선을 그려 투상도를 완성한다.

3. 키 홈의 치수 기입

이와 같이 축 끝 부분이 테이퍼가 있고, 평행키 홈이나 반달키 홈이 있는 문제도 가끔 출제되므로, 인벤터에서 보조 투상도작도하는 방법과 투상도 정리, 치수 기입까지 꼭 연습하고 시험에 응시하시길 바랍니다.

'국가 기술 자격 CAD 실기 시험 > 기계 제도와 도면 해독' 카테고리의 다른 글
| 치공구의 시작 - 바이스1 #모델링부터 도면 작업까지 전 과정 따라하기 (2) | 2023.06.26 |
|---|---|
| 투상도 작도와 치수 기입 방법 최종 - (3) 치수 기입 (1) | 2023.05.11 |
| 투상도 작도와 치수 기입 방법 - (2) 투상도 작도 (0) | 2023.05.10 |
| 투상도 작도와 치수 기입 방법 - (1) 모델링 (1) | 2023.05.09 |
| 단면에서 리브( RIB )의 선 정리 방법 (1) | 2023.04.28 |
| 이중스퍼기어 - 부품도 작업과 요목표 (1) | 2023.04.26 |
| 편심축의 투상도, 주요 치수와 공차 정리 (2) | 2023.04.24 |
| V-블럭(V-Block) 모델링과 도면 작업 (1) | 2023.04.22 |